Battery for 1995 Ford Windstar
Vehicle
1995 Ford Windstar
Change Vehicle
- Aperture Panel
- Bumper & Components - Front
- Bumper & Components - Rear
- Center Console
- Center Pillar
- Cluster & Switches
- Controls
- Cowl
- Door
- Door & Components
- Door Hardware
- Ducts
- Exterior Trim - Fender
- Exterior Trim - Front Door
- Exterior Trim - Hood
- Exterior Trim - Lift Gate
- Exterior Trim - Side Door
- Fender & Components
- Floor & Rails
- Front Panel
- Front Seat Components
- Fuel Door
- Gate & Hardware
- Glass - Front Door
- Glass - Lift Gate
- Glass - Side Door
- Glass - Side Panel
- Glass - Windshield
- Hinge Pillar
- Hood & Components
- Inner Structure
- Inside Mirrors
- Instrument Panel
- Instrument Panel Components
- Interior Trim
- Interior Trim - Front Door
- Interior Trim - Pillars
- Interior Trim - Roof
- Interior Trim - Side Door
- Interior Trim - Side Panel
- Labels
- Liftgate
- Lock & Hardware
- Lower Instrument Panel
- Luggage Carrier
- Outside Mirrors
- Overhead Console
- Radiator Support
- Rear Body
- Rear Seat Components
- Rocker Panel
- Roof & Components
- Seat Belt
- Side Panel & Components
- Sliding Door
- Sound System
- Spoiler
- Structural Components & Rails
- Wiper & Washer Components
- ABS Components
- Air Bag Components
- Alternator
- Antenna & Radio
- Anti-Theft Components
- Battery
- Battery & Related Components
- Bulbs - Chassis
- Combination Lamps
- Control Modules
- Cruise Control System
- Daytime Running Lamp Components
- Door
- Flasher Units, Fuses, & Circuit Breakers
- Flashers
- Fog Lamps
- Front Seat Belts
- Glass, Windows & Related Components
- Headlamp Components
- High Mounted Stop Lamp
- Horn
- Ignition Lock
- Ignition System
- Instruments & Gauges
- Keyless Entry Components
- License Lamps
- Liftgate
- Mirrors
- Power Seats
- Powertrain Control
- Quarter Window
- Rear Seat Belts
- Relays
- Senders
- Sensors
- Side Marker & Signal Lamps
- Sliding Door
- Starter
- Starter & Related Components
- Switches
- Switches, Solenoids & Actuators
- Window Defroster
- Wipers
- Aperture Panel
- Bumper & Components - Front
- Bumper & Components - Rear
- Center Console
- Center Pillar
- Cluster & Switches
- Controls
- Cowl
- Door
- Door & Components
- Door Hardware
- Ducts
- Exterior Trim - Fender
- Exterior Trim - Front Door
- Exterior Trim - Hood
- Exterior Trim - Lift Gate
- Exterior Trim - Side Door
- Fender & Components
- Floor & Rails
- Front Panel
- Front Seat Components
- Fuel Door
- Gate & Hardware
- Glass - Front Door
- Glass - Lift Gate
- Glass - Side Door
- Glass - Side Panel
- Glass - Windshield
- Hinge Pillar
- Hood & Components
- Inner Structure
- Inside Mirrors
- Instrument Panel
- Instrument Panel Components
- Interior Trim
- Interior Trim - Front Door
- Interior Trim - Pillars
- Interior Trim - Roof
- Interior Trim - Side Door
- Interior Trim - Side Panel
- Labels
- Liftgate
- Lock & Hardware
- Lower Instrument Panel
- Luggage Carrier
- Outside Mirrors
- Overhead Console
- Radiator Support
- Rear Body
- Rear Seat Components
- Rocker Panel
- Roof & Components
- Seat Belt
- Side Panel & Components
- Sliding Door
- Sound System
- Spoiler
- Structural Components & Rails
- Wiper & Washer Components
- ABS Components
- Air Bag Components
- Alternator
- Antenna & Radio
- Anti-Theft Components
- Battery
- Battery & Related Components
- Bulbs - Chassis
- Combination Lamps
- Control Modules
- Cruise Control System
- Daytime Running Lamp Components
- Door
- Flasher Units, Fuses, & Circuit Breakers
- Flashers
- Fog Lamps
- Front Seat Belts
- Glass, Windows & Related Components
- Headlamp Components
- High Mounted Stop Lamp
- Horn
- Ignition Lock
- Ignition System
- Instruments & Gauges
- Keyless Entry Components
- License Lamps
- Liftgate
- Mirrors
- Power Seats
- Powertrain Control
- Quarter Window
- Rear Seat Belts
- Relays
- Senders
- Sensors
- Side Marker & Signal Lamps
- Sliding Door
- Starter
- Starter & Related Components
- Switches
- Switches, Solenoids & Actuators
- Window Defroster
- Wipers
Browse Categories
Select category
- Aperture Panel
- Bumper & Components - Front
- Bumper & Components - Rear
- Center Console
- Center Pillar
- Cluster & Switches
- Controls
- Cowl
- Door
- Door & Components
- Door Hardware
- Ducts
- Exterior Trim - Fender
- Exterior Trim - Front Door
- Exterior Trim - Hood
- Exterior Trim - Lift Gate
- Exterior Trim - Side Door
- Fender & Components
- Floor & Rails
- Front Panel
- Front Seat Components
- Fuel Door
- Gate & Hardware
- Glass - Front Door
- Glass - Lift Gate
- Glass - Side Door
- Glass - Side Panel
- Glass - Windshield
- Hinge Pillar
- Hood & Components
- Inner Structure
- Inside Mirrors
- Instrument Panel
- Instrument Panel Components
- Interior Trim
- Interior Trim - Front Door
- Interior Trim - Pillars
- Interior Trim - Roof
- Interior Trim - Side Door
- Interior Trim - Side Panel
- Labels
- Liftgate
- Lock & Hardware
- Lower Instrument Panel
- Luggage Carrier
- Outside Mirrors
- Overhead Console
- Radiator Support
- Rear Body
- Rear Seat Components
- Rocker Panel
- Roof & Components
- Seat Belt
- Side Panel & Components
- Sliding Door
- Sound System
- Spoiler
- Structural Components & Rails
- Wiper & Washer Components
- ABS Components
- Air Bag Components
- Alternator
- Antenna & Radio
- Anti-Theft Components
- Battery
- Battery & Related Components
- Bulbs - Chassis
- Combination Lamps
- Control Modules
- Cruise Control System
- Daytime Running Lamp Components
- Door
- Flasher Units, Fuses, & Circuit Breakers
- Flashers
- Fog Lamps
- Front Seat Belts
- Glass, Windows & Related Components
- Headlamp Components
- High Mounted Stop Lamp
- Horn
- Ignition Lock
- Ignition System
- Instruments & Gauges
- Keyless Entry Components
- License Lamps
- Liftgate
- Mirrors
- Power Seats
- Powertrain Control
- Quarter Window
- Rear Seat Belts
- Relays
- Senders
- Sensors
- Side Marker & Signal Lamps
- Sliding Door
- Starter
- Starter & Related Components
- Switches
- Switches, Solenoids & Actuators
- Window Defroster
- Wipers
- Aperture Panel
- Bumper & Components - Front
- Bumper & Components - Rear
- Center Console
- Center Pillar
- Cluster & Switches
- Controls
- Cowl
- Door
- Door & Components
- Door Hardware
- Ducts
- Exterior Trim - Fender
- Exterior Trim - Front Door
- Exterior Trim - Hood
- Exterior Trim - Lift Gate
- Exterior Trim - Side Door
- Fender & Components
- Floor & Rails
- Front Panel
- Front Seat Components
- Fuel Door
- Gate & Hardware
- Glass - Front Door
- Glass - Lift Gate
- Glass - Side Door
- Glass - Side Panel
- Glass - Windshield
- Hinge Pillar
- Hood & Components
- Inner Structure
- Inside Mirrors
- Instrument Panel
- Instrument Panel Components
- Interior Trim
- Interior Trim - Front Door
- Interior Trim - Pillars
- Interior Trim - Roof
- Interior Trim - Side Door
- Interior Trim - Side Panel
- Labels
- Liftgate
- Lock & Hardware
- Lower Instrument Panel
- Luggage Carrier
- Outside Mirrors
- Overhead Console
- Radiator Support
- Rear Body
- Rear Seat Components
- Rocker Panel
- Roof & Components
- Seat Belt
- Side Panel & Components
- Sliding Door
- Sound System
- Spoiler
- Structural Components & Rails
- Wiper & Washer Components
- ABS Components
- Air Bag Components
- Alternator
- Antenna & Radio
- Anti-Theft Components
- Battery
- Battery & Related Components
- Bulbs - Chassis
- Combination Lamps
- Control Modules
- Cruise Control System
- Daytime Running Lamp Components
- Door
- Flasher Units, Fuses, & Circuit Breakers
- Flashers
- Fog Lamps
- Front Seat Belts
- Glass, Windows & Related Components
- Headlamp Components
- High Mounted Stop Lamp
- Horn
- Ignition Lock
- Ignition System
- Instruments & Gauges
- Keyless Entry Components
- License Lamps
- Liftgate
- Mirrors
- Power Seats
- Powertrain Control
- Quarter Window
- Rear Seat Belts
- Relays
- Senders
- Sensors
- Side Marker & Signal Lamps
- Sliding Door
- Starter
- Starter & Related Components
- Switches
- Switches, Solenoids & Actuators
- Window Defroster
- Wipers
1
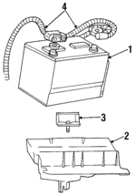
- $175.96Motorcraftâ„¢ BatteryFordTop Terminal. 540 CCA. Group 58. Vendor:motorcraft. Vendor #BXT58. 4 cylinder, 540 amp. 540 cold cranking amps, bxt-59. 6 cylinder, 84 month, bxt-58. 3.0L, 84 month, bxt-58. Vendor #BXT 58. (3/85 - 87), 84 month, gas, bxt-58.
- $175.96Motorcraftâ„¢ BatteryFord
- $184.76Motorcraftâ„¢ BatteryFord
1
- $175.96Motorcraftâ„¢ BatteryFordTop Terminal. 540 CCA. Group 58. Vendor:motorcraft. Vendor #BXT58. 4 cylinder, 540 amp. 540 cold cranking amps, bxt-59. 6 cylinder, 84 month, bxt-58. 3.0L, 84 month, bxt-58. Vendor #BXT 58. (3/85 - 87), 84 month, gas, bxt-58.
- $175.96Motorcraftâ„¢ BatteryFord
- $184.76Motorcraftâ„¢ BatteryFord
No.
Part # / Description / Price
Price
1
Motorcraftâ„¢ Battery 12
Ford
Ford Notes: PARTS: Part numbers listed are for estimating purposes only. Order by color & application.
Description: Top Terminal. 540 CCA. Group 58. Vendor:motorcraft. Vendor #BXT58. 4 cylinder, 540 amp. 540 cold cranking amps, bxt-59. 6 cylinder, 84 month, bxt-58. 3.0L, 84 month, bxt-58. Vendor #BXT 58. (3/85 - 87), 84 month, gas, bxt-58.
MSRP $199.95
$175.96
MSRP $199.95
$175.96
1
Battery 12
Ford
Ford Notes: PARTS: Part numbers listed are for estimating purposes only. Order by color & application.
MSRP $199.95
$175.96
MSRP $199.95
$175.96
1
Battery 12
Ford
Ford Notes: PARTS: Part numbers listed are for estimating purposes only. Order by color & application.
MSRP $209.95
$184.76
MSRP $209.95
$184.76
3
Battery Hold Down Bolt
Ford
Ford Description: 1992-96, 8 cylinder, gas. Gas engines. Main battery. 1992-96, 8 cylinder, diesel. 3.8L without supercharger. With bolt. With diesel engine. 4.6L. Auxiliary battery.
$14.17
$14.17
4
1 This price excludes a refundable manufacturer's core charge. Add the part to your cart to see the core charge.
2 This part contains hazardous materials. Extra shipping costs apply.
Related Parts
Part # / Description / Price
Price
